Trailer Tongue
Trailer Tongue
Grade: 304 Stainless Steel
Retail and bulk packaging available
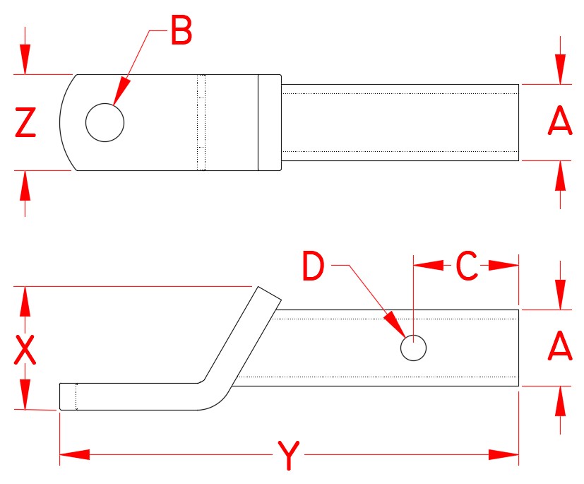
The heavy duty stainless steel Trailer Tongue is designed to fit into a 2″ receiver and is drilled to accept a 1″ shank hitch ball. It is mirror polished and precision cast. This trailer tongue is made of grade 304 stainless steel for maximum corrosion resistance and durability.




Specifications

ALL DIMENSIONS ARE NOMINAL (+/- 3%) AND ARE SUBJECT TO CHANGE WITHOUT NOTICE.
| ITEM | A (size) | B | C | D | X | Y | Z | WT (lb) |
|---|---|---|---|---|---|---|---|---|
| C0266-0000 | 2″ | 1.00″ | 2.75″ | 0.62″ | 3.30″ | 11.50″ | 2.50″ | 5.69 |













