USCG Chain Stopper
USCG Chain Stopper
Grade: 316 Stainless Steel
Retail and bulk packaging available
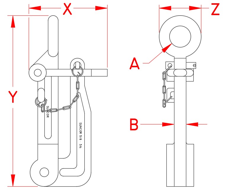
The Suncor Stainless USCG Chain Stopper, or as it’s commonly known, bow chain stopper, is precision cast and made from grade 316 stainless steel for maximum corrosion resistance and durability. This chain stopper can be used on 5/8″ and 3/4″ chain. It includes a stainless steel toggle safety pin with chain.
Note: Use any suitable 3/4″ size turnbuckle for tensioning chain.



Specifications

ALL DIMENSIONS ARE NOMINAL (+/- 3%) AND ARE SUBJECT TO CHANGE WITHOUT NOTICE.
| ITEM | A | B | X | Y | Z | WT (lb) |
|---|---|---|---|---|---|---|
| S0180-0300 | 1.48″ | 0.88″ | 5.50″ | 12.00″ | 3.00″ | 9.13 |











